Исходные данные
Сетка рукава
Схема рукава
Классические рукава
Неклассические рукава
Игнатович И.Н., Солодухо Н.В.
Этапы построения схемы рукава
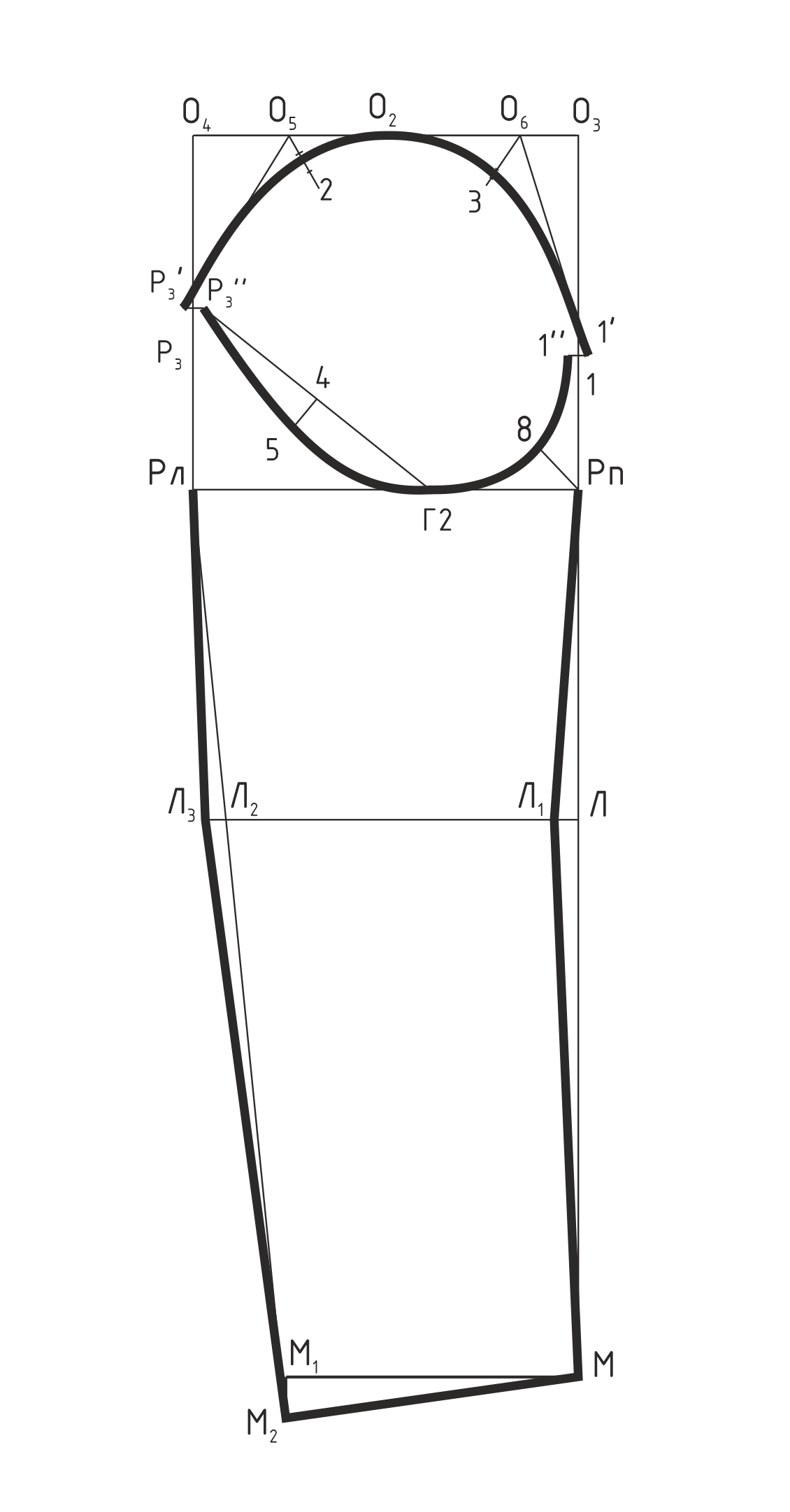
Построение контуров рукава ниже уровня ширины рукава под проймой
Построение оката рукава. Определение его контрольных точек
Построение оката рукава. Определение вспомогательных точек верхней части оката
Построение оката рукава. Определение вспомогательных и контрольных точек нижней части оката
Линии схемы рукава
Построение контуров рукава ниже уровня ширины рукава под проймой
1. Изгиб в локте переднего переката:
ЛЛ
1
= 1,0см - для типовой фигуры с нормальным сгибом руки в локте
Соединяют точки Рп, Л
1
, М - линия переднего переката
2. Ширина рукава внизу (Шрвн):
ММ
1
= Шрвн, Шрвн = Шрпр - (4…6)см либо по модели
Соединяют точки М и М
2
- линия низа рукава
3. Спуск низа рукава в локтевой части:
М
1
М
2
= 2,0…2,5см
Соединяют точки Рл и М
2
- направляющая локтевого переката
4. Изгиб в локте локтевого переката:
Л
2
Л
3
= 1,0см - для типовой фигуры с нормальным сгибом руки в локте
Соединяют точки Рл, Л
3
и М
2
- линия локтевого переката
Построение оката рукава. Определение его контрольных точек
1. Контрольные точки на окате рукава должны соответствовать контрольным точкам на спинке и переде:
Рп1 = Г
4
П
6
- с чертежа переда
Уровни этих точек отличаются не менее, чем на 2,0см
1-1' вправо = 1-1'' влево = 0,5см
2. Коррекция положения верхних точек перекатов:
В рукаве на фигуру с полнотой руки в верхней части отвод 1-1' может доходить до 1,0…1,5см
РлР
3
= Г
1
П
3
- с чертежа спинки
Р
3
Р
3
' влево = Р
3
Р
3
'' вправо = 0,5см
Построение оката рукава. Определение вспомогательных точек верхней части оката
1. Высшая точка оката: О
3
О
4
/2= О
2
2. Вспомогательная точка локтевой доли: О
2
О
5
= О
2
О
4
/2
Соединяют точку О
5
с точкой Р
3
'
Восстанавливают биссектрису тупого угла в точке О
6
Соединяют точку О
6
с точкой 1'
5. О
6
-2 = 2,0…2,5см по биссектрисе
3. Вспомогательная точка передней доли:
О
2
О
6
= О
2
О
3
/2 + 1,0…2,0см
Восстанавливают биссектрису тупого угла в точке О
5
4. О
5
-3 = 1,0…2,0см по биссектрисе
Построение оката рукава.
Определение вспомогательных и контрольных точек нижней части оката
1. Нижняя точка оката: РпГ
2
= Г
4
Г
2
(с чертежа переда) + 1-1''
2. Вспомогательные точки:
точка 4 - (Р
3
'' Г
2
)/2
точка 5 - по перпендикуляру от точки 4 = 1,0…2,0см
3. Вспомогательная точка 8: Рп8 по биссектрисе =
= Г
4
-2 (с чертежа переда) + 1-1''
Соединяют точки Р
3
'' и Г
2
Линии схемы рукава
Верхняя часть линии оката (проходит через точки Р
3
'-3-О
2
-2-1')
Нижняя часть линии оката (проходит через точки Р
3
''-5-Г
2
-8-1'')
Линии переднего переката
Линии локтевого переката
Линии низа рукава
This site was made on
Tilda — a website builder
that helps to create a website without any code
Create a website
How to remove this block?
About platform
Submit a complaint